
创新的技术,是行业快速发展的基石。
和电动汽车不同,2019年是依旧是电动两轮车蓬勃发展的一年。在过去的2019年,一些国内外电动车企业,用创新的技术为我们带了很多惊喜的电动车产品:这些技术有的让车辆性能更强劲,使车辆最大可爆发1000N·m扭力;有的让充电更快续航更长,可达到充电两分钟续航300公里......今天我们就一起来看看,2019年那些惊艳过我们的创新技术吧~
Nawa Race 超级电容
这个技术是法国NAWA Technologies科技公司在2019年年底应用到他们的一台名为Nawa Racer的电动摩托上的。超级电容的应用,让其功率和能量是现有超级电容器的十倍,使这台电动摩托城市续航高达300km,不到三秒钟的时间内,完成了0-100km/h加速。

据了解,超级电容是一种介于传统电容器与电池之间的化学电源,优点很多,比如功率密度高、充放电速度快、充放电循环可以达到数百万次。但放电快针对需要长续航的电动车来说就是缺点了。

但如果把能量转化效率高、充放电速度快的特性,应用到制动能量回收系统上,则可实现捕捉并重复利用80%的制动能量,Nawa Racer电动摩托就是这样实现长续航的。当然,由于它只在刹车时利用能量,所以这些增程表现只有在停车和堵车的时候才有效。
专业人士表示,超级电容是非常有前景的,特别适合在电动车高负荷态势作为辅助能量源,可以利用其功率密度高、充放电快的特点,增加瞬时功率,提高驾驶体验,也可以减少锂电池大电流放电,延长锂电池寿命。
TS无轮毂
所谓无轮毂,是指车轮没有使用传统的轮毂技术,看上去中间空无一物,但是却真的能够转动起来。在2019年的米兰展上,来自芬兰的电动摩托车Verge(即RMK)就在他们市售版的Verge TS搭载了无轮毂后轮技术。

因为采用了镂空的无轮毂设计,因此Verge TS不需要皮带或链条来传递动力,直接利用马达直驱来传递动力,使其最大扭矩可达1000NM。没有变速箱的优点也让它能更加轻巧。由于马达直接放置在后轮的位置,因此车辆有更多空间来放置更大的电池,另外无轮毂后轮还提供再生制动功能,有助于在骑行时为电池充电,让Verge TS可达最大300公里续航。
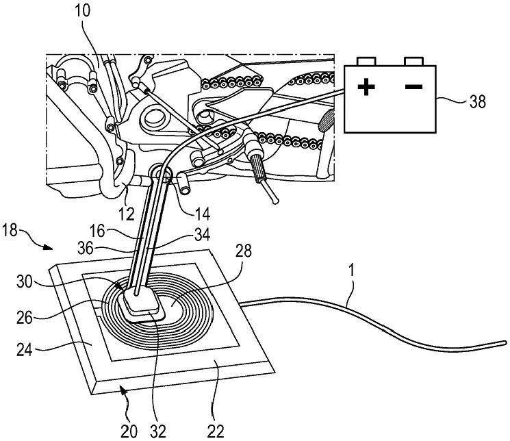
宝马无线充电
当电动车款数量增加,现有的充电方式根本无法满足那麽多的使用者,而传统的充电器尺寸过大又不便于携带,于是BMW将脑筋动到“充电方式”上,准备研发无线充电。BMW电动车无线充电的概念很简单:接好充电器、放好充电板、踢下侧驻、开始充电。

就跟给手机充电一样,车停好就可以开始充电,虽然尚不知道实际的尺寸如何,但看上去BMW希望这个摩托车用的无线充电器能做得又薄又小,倘若能随身甚至是随车携带,那电动车的移动范围将不再受限于既有车用电网涵盖的区块,实用性也将飞越性的成长。
雅迪侧挂电机
2019年的南京展,雅迪在其战略峰会上发布了另一款高端电摩G6。除了设计上让人眼前一亮,雅迪G6还搭载了全新研发的集成侧挂电机。

据资料显示,在这款电机的加持下,雅迪G6性能可媲美125cc机车,最大输出功率可达6000W,最大扭矩为138N.m,最大行驶速度可达80km/h在起步、提速时拥有媲美摩托车的强劲动力。这款侧挂电机还可装载能量回收系统(EBS),让G6在下坡、减速过程中能反向给电池充电,使电动车续航里程增加。同时雅迪G6一体化侧挂电机,还拥有IP67浸泡防水等级,能在雨天畅行。
目前雅迪的这款电机只运用在了其高端电摩G6和G5max上。
台铃云动力3.0
台铃云动力,台铃独自研发的智能动力平台,采用正弦波和矢量变频技术,加上最高等级SH级材质磁钢,有效增加磁通量,具有电阻小、散热性强、扭矩大、动力更强劲、速度快、爬坡力度大、续行里程长、使用寿命长等特点。2019年3月,台铃在天津展发布了最新的云动力3.0系统。

台铃云动力3.0系统,是一套智能动力平台,拥有物理感应、电量精控及超频动力三项核心技术,配置了“变频段充 技术的云充电器”“能量充沛的云电池”“算法精准的云控制器”“效率平台更宽的云电机”等核心部件。使得台铃电动车产品在智能响应、动力持续输出、节能省电等方面得到了全面的更进一步的提升,让车子更节能、更智能,一次充电多跑25公里!
目前搭载云动力3.0系统的台铃智远版产品,已经完成了相关车型量产。
石墨烯电池
2019年,不光是电机、动力平台、充电技术在推陈出新,电池领域也在上演技术组争霸。其中,在以石墨烯为代表的电池技术主战场上,爱玛、雅迪、绿源为行业上演了一出“三雄争霸”,掀起了电池领域的技术革命。

2019年6月,雅迪正式对外发布了石墨烯电池;10月,绿源在2020电动车趋势发布会上也发布了其石墨烯高能电池;12月爱玛在2020年全球战略峰会上震撼发布爱玛专用石墨烯电池。

由上述信息可见,三家电池在数据上有些细微差距,但石墨烯电池不管是在续航里程、充电速度还是耐用性上,确实较普遍使用的铅酸电池有了一定的提升。以更低的价格获得能够与更优越的性能,石墨烯电池的出现对电动车行业来说确实称得上是一场新的技术革命。
-
新技术的创新,势必会让行业发展得越来越好。而在好的发展环境之下,相信2020年会有更多更新的技术的出现。我们期待2020年,电动车技术发展给我们带来更多的惊喜。