
更多精彩内容关注微信“优感设备诊断中心”
一、定义
汽轮机又叫蒸汽透平,它是以蒸汽为工作介质,利用高速气流推动叶轮转动,从而把蒸汽的热能转化为机械能的一种能量转换设备。
二、汽轮机的组成

转子(包括主轴、叶轮、叶片) 。
定子(包括汽缸、喷嘴、隔板),调速系统,保安系统。
三、汽轮机的工作原理

高压蒸汽从装在汽缸上的喷嘴喷出,经膨胀、降压而形成高速气流,高速气流吹到装在叶轮周边的一个个叶片上,从而将转子转动起来,完成了蒸汽热能到机械能的转换。此过程中排出的蒸汽温度和压力均有所降落,因此叫乏汽。
四、汽轮机的种类
按热力学划分主要有背压式、抽汽式和凝汽式三种。我车间采用的为凝汽式透平,蒸汽在汽轮机中做功后全部进入凝汽器,排汽在低于大气压力的真空态势下凝结成水。
五、凝气式汽轮机的蒸汽
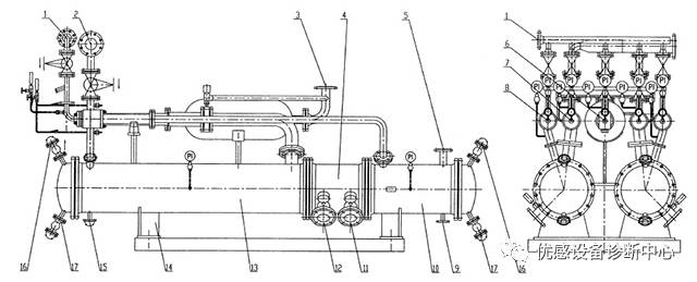
1、进汽系统
进汽系统包括主汽门和调速气门,主汽门(速关阀)是蒸汽进入系统的通道位于汽缸前部,新蒸汽通过它进入气室,机组正常运行时,速关阀中的油压克服弹簧力顶开阀门,出现故障时,油路中的油压降落,阀门就快速关闭。调节气门用来调节进气量,而进气量决定着汽轮机的转速和功率。调节汽阀是用油压操纵的,各个阀碟挂在横梁上,横梁通过两根拉杆和一套装在进气室前的杠杆油动机带动。调速器可人工给定转速,亦可与其它系统相连,保持某一参数恒定。
调节汽阀简图

2、冷凝系统
冷凝系统包括凝汽器、热井、凝结水泵等。排汽经过凝汽器冷却后,能将做功后的乏汽冷凝成水,再由凝结水泵打入抽汽冷凝器做冷却水用,一部分回到热井保持一定的液面,另一部分水送入管网回收再利用。冷却过程中形成负压,瞬间冷却,体积急剧收缩,造成一定的真空,有利于汽机进一步做功。
冷凝系统简图

3.真空系统
真空系统的作用是维持凝汽式透平排汽的真空度,同时将冷凝液回收重复使用。主要设备有抽汽冷凝器、开工抽气器、一、二级抽气器(抽气器也叫空气抽气器,蒸汽喷射器)
抽气器的工作原理
工作蒸汽在高压下从喷嘴以很高的流速喷出,在喷射过程中,蒸汽的静压能转变为动能产生低压,而将气体吸入,吸入的气体与蒸汽混合后进入扩散管,速度逐渐降低压力随之升高,而后从压出口排出。在蒸汽冷凝下来以后,积蓄下来的不凝气体通过两个串联的蒸汽喷射器抽出。每抽一次,压力就升高一些,又可冷凝下来一些水份,这些冷凝水又可引回系统,最后将不凝气体排入大气。
真空系统简图

一级抽气器工作原理图

4.排气安全阀
1)作用
当系统出现故障破真空时,将排大气安全阀打开,可快速破真空,使转子尽快停止转动,防止事故扩大化。
2)操作要点
a.为了防止安全阀不严而漏空气,排大气安全阀要用水封住,通入密封水以维持真空。
b.如果排大气安全阀达到正压不动作,可立即用手去开此阀,如果还是打不开,要进行紧急停车。
排气安全阀简图

5.轴封蒸汽
1)作用:在轴的两端形成密封。防止缸内气体逸如大气(高压侧即蒸汽入口侧);或空气漏入缸体(低压侧即做功后的乏汽侧),影响透表冷器的真空。
2)操作要点:
a.过大会造成蒸汽浪费,而且如果密封蒸汽泄漏气回到疏水膨胀箱,那就会增加对凝汽器负荷,如果不及时调整有可能影响到真空度。
b.过小,密封效果不好,高压侧高压蒸汽容易泄漏出来,真空侧很有可能吸入空气影响到真空度。
6.调速系统组成
速关阀、调节阀、危急保安器、电液转换器、油动机。
调速系统的作用:它是通过油压控制调节气门进汽量的大小,从而实现控制调节透平转速。
汽轮机调速油系统简图

7.危急保安系统
当转速超过设计允许极限,转子上的飞锤会自动弹出,触及危机保安器,自动将调速器油压泄掉,迅速关闭速关阀,切断进汽。
当汽轮机转子轴向位移≥1mm 时,转子上的轴位移凸肩撞击挂钩,也会将速关阀关闭。
作用:是防止机组超转数飞车的一种保护装置。
汽轮机危机保安器系统简图

8.凝汽器的作用
汽轮机排汽端做功完毕的蒸汽,离开汽轮机后进入凝汽器壳程,凝汽器管程内流入循环水冷却工质,将汽轮机乏汽凝结为水.由于蒸汽凝结为水时,体积骤然缩小,从而在原来被蒸汽充满的凝汽器封闭空间中形成真空。为保持所形成的真空,抽气器则不断的将漏入凝汽器内的空气抽出,以防不凝结气体在凝汽器内积聚,使凝汽器内压力升高。集中与凝汽器底部热井中的凝结水,则通过凝结水泵送往除氧器方向作为锅炉给水。简单的说凝汽器作用,就是把乏汽凝结成水。
凝汽设备的任务是:
1)在汽轮机排汽口建立并维持高度真空。
2)将汽轮机的排汽凝结成洁净的凝结水作为锅炉的给水循环使用。
凝汽器简图

9.盘车系统
汽轮机盘车的作用
1)为了保证汽轮机在停机后任意时间内能启动,停机后使转子连续或定期转动以便消除转子的热弯曲度。另外,盘车可防止由于汽门不严,蒸汽漏入汽轮机内部,而引起的热变形。
2)由于盘车带动转子转动使转子和缸体以及各部件均匀冷却。
3)由于盘车时一定要启动油泵,它还能使轴承冷却,以带走轴承中的热量。
4)汽轮机冲转时,可减少转子的惰性,减少叶片的冲击力。
盘车系统简图
