来源:变电运维人
变压器绕组热点是变压器运行时绕组温度的最高点,热点温度过高,会加速绝缘老化,缩短变压器寿命;热点温度过低,则变压器的能力就没有得到充分利用,减低了经济效益。
根据获取温度的方式,获得变压器内部绕组温度主要有两种方法,分别为直接测量法和间接测量法。
1 直接测量法
由于变压器内部结构复杂,运行时产生大量微波和电磁干扰,使得传统的测温方法难于得到真实的测量结果。光纤温度传感器有良好的电绝缘性、极强的抗电磁场干扰能力和优良的可靠性,因此非常适合变压器内部的温度测量。直接测量法是利用在变压器靠近绕组部位或绕组线饼中安置光纤温度传感器直接获得变压器绕组的热点温度。使用光纤温度传感器的原因是其接收信号不易为变压器内电磁场等环境所影响,所测结果较为准确。
直接测量结果最准确,但绕组内埋设传感器对绝缘结构设计要求较高,容易影响变压器正常运行,且由于绕组热点位置不确定,传感器埋设处不一定是最热点,测量结果可能并非绕组的热点温度。为克服此种情况,常规采取的方法是在绕组热点附近区域,安装多个温度传感器,通过测量多个位置的温度来近似得到绕组的热点温度。另一种解决方案是采用分布式光纤温度传感器。
光纤传感技术应用于变压器绕组热点温度的直接测量已经有了重要的进步,但针对稳定性、经济性和实用性仍需提高。
2 间接计算测量方法
间接测量法即为不直接对变压器绕组热点温度测量,对热点温度进行估算的方法。这种方法中有利用物理模拟的热模拟法、利用传热学理论计算的数值计算法、利用热电类比法得到的热路模型法和国家标准推荐计算法。
① 热模拟法
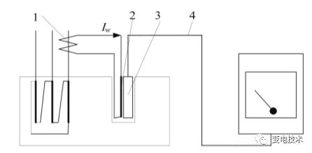
热模拟测量法在变压器顶层区域内模拟绕组相针对顶层油温的温升来求的热点温度。该法热模拟测量法以绕组热点温度t k =KΔt wo +t o 为基础。式中Δt wo 为铜油温差;t O 为顶层油温;K为热点系数。图1的测试系统用电流互感器获取电流Iw(正比于负荷),流经温包内特别设计的加热元件以获取Δt wo ,加上t 0 即为绕组热点温度。

图1 “热模拟”配置图
1. 电流互感器 2.电热元件 3.温包 4.毛细管
热模拟法测量的前提是变压器油箱顶层、绕组内顶层油温和变压器油温近似。这不适合多路系统变压器;且模拟产生的附加温升Δt wo 虽已校准,但运行绕组的温升过程与模拟不尽相同,误差较大,法国电网已停用该测温装置。
② 热路模型计算法
热路模型计算方法从传热学角度为出发点,用电路模型简化变压器内热传导过程,将变压器内部热传导过程简化为电路模型的热电类比法,可得到直接反映物理过程的热路模型最终得出计算变压器热点温度的计算公式。
③ 国家标准推荐计算法
国家标准 GB 1094.2-1996《电力变压器温升》(等效采用 IEC 76.2-1993)中给出的油浸式变压器绕组内部温度分布的数学模型为目前最常用的模型。该模型有以下假设前提:
1) 绕组内的油温,从底部到顶部,不论其冷却方式如何,均按线性增加。
2) 绕组沿高度任何位置的温升,从底部到顶部按线性增加。此直线与油的温升直线平行,两平行线之间的差值为常数g(g为用电阻法测出的绕组平均温升和油平均温升的差值) 。
3) 热点温升比绕组顶部的平均温升高,因为靠近绕组的上端部位,涡流损耗往往比较集中,并可能还要特殊加强电气绝缘,从而增加了隔热程度,因此,这部位的导体与油之间的温差较高,假定热点温升比油顶部温升高 Hg,热点因数 H=1.1~1.5,H 和变压器的容量大小、短路阻抗和绕组的结构有关,对配电变压器取 1.1,大中型变压器取1.3。热点因数 H 是考虑由于漏磁影响使绕组端部温升比线性增加还要高一点。
如图2所示,热点温升=顶层油温升+Hg×油平均温升

图2 油浸式变压器绕组的温度模型
国家标准中的绕组热点温度计算模型能够基本反映真实的变压器热传导过程。但是模型对变压器绕组热点温度的计算仅仅是简单估算,其模型比较粗糙,其针对变压器的非线性特征反应不够,在热路中没有涵盖影响变压器绕组热点温度分布的全部重要因素,同时计算公式中一些计算参数由经验得出,热点系数的选取有一定的随机性,通用性不强,引起计算结果精度不够。应用到实际运行变压器的热点估算中时会导致与实际情况误差较大。
④ 数值计算法
数值计算法基于热传导和流体力学理论,通过建立变压器内对流换热的微分方程组,方程组包含质量守恒方程、动量守恒方程、能量守恒方程,通过软件设定边界条件求解出绕组和油区域的温度场和油区域的流场。由于数值计算方法是对实际热场、流场进行求解,则可求得变压器绕组热点的温度值及热点的位置。
来源:变电运维人