漏电保护器,简称漏电开关,又叫漏电断路器,主要是用来在设备发生漏电故障时以及对有致命危险的人身触电保护,具有过载和短路保护功能,可用来保护线路或电动机的过载和短路,亦可在正常情况下作为线路的不频繁转换启动之用。漏电保护器是防止人员发生触电事故时进行保护的,比如有人触电,则漏电保护器跳闸,自动关闭电源输出,避免触电事故扩大造成人员伤亡。有时候漏电保护器也经常出现问题,那么你是否知道漏电保护器跳闸是怎么回事呢,下面就给大家分享一些关于排查和解决漏电保护器跳闸的问题,希望能帮助到大家。
漏电保护器不同于断路器和隔离开关。断路器除了有分合电路功能外,还具有短路保护功能。隔离开关只有分合电路功能。漏电保护器除了分合电路功能,并有短路保护功能外,还具有漏电保护功能(漏电电流在30mA——500mA不等)。
建筑供配电系统多采用TN—C—S系统。一般设置两级漏电保护开关。第一级设置在电源进户处的总开关处,即电源进户处的总开关选用漏电电流值为300mA——500mA的4级(L1、L2、L3 和 N 线) 的漏电开关; 第二级设置在用户开关箱中的插座回路(悬挂式空调回路允许不设置漏电开关),选用漏电电流值为30mA的2级(L1或L2或L3和N线)的漏电开关。从而防止了用电人员触电事故的发生及提高了建筑供配电系统安全运行的可靠性。
漏电保护开关故障跳闸后,万万不可将漏电保护开关的漏电流检测环节摘掉。应根据故障跳闸现象,分析故障跳闸原因,找出解决故障方法。漏电开关故障跳闸现象大致有6种:
第1种,用电设备本身绝缘损坏,导致用电时发生漏电开关故障跳闸现象;
第2种,线路潮湿绝缘强度降低,导致非用电时漏电开关故障跳闸现象;
第3种,人身意外触电,导致漏电开关故障跳闸现象;
第4、5、6种,施工安装时接线不正确,导致用电时发生漏电开关故障跳闸现象。
详细分析如下↓↓↓
第1种:用电设备本身绝缘损坏而漏电(设备中的N线与PE线短接)。如图1所示。
故障现象:插座回路用电时,插座回路漏电开关跳闸。
故障原因:经分析线路接线正确无误,故判断为用电设备本身绝缘损坏而漏电(设备中的N线与PE线短接) 。
解决方法:更换或维修用电设备。
第2种:线路潮湿绝缘强度降低。如图1所示。
故障现象:不用电时,也出现AL1中的总漏电开关或插座回路漏电开关跳闸。
故障原因:经分析,线路潮湿绝缘强度降低,导致漏电流超过了漏电开关允许漏电流值。也可能因线路短路所致。
解决方法:烘干线路,提高绝缘强度。检查线路若是短路所致,排除短路故障。
第3种:有人触电,出现AL1中的总漏电开关或插座回路漏电开关跳闸。如图1所示。
故障现象:AL1中的总漏电开关或插座回路漏电开关跳闸。
故障原因:有人触电。
解决方法:加强全民用电安全教育,避免触电事故发生。

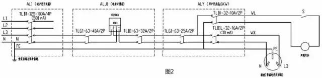
第4种:施工安装时接线不正确,照明回路中将N线接到PE线上了。如图2所示。
故障现象:插座回路能正常用电,照明回路用电时,AL1中的总漏电开关跳闸。
故障原因: 经分析, 施工安装时线路接线有误, 不正确。 将照明回路中的N线误接到PE线上了。
解决方法:将照明回路中的PE线改接到N线上。

第5种:施工安装时接线不正确,插座盒中的N线与PE线接错了。如图3所示。
故障现象:照明回路能正常用电,插座回路用电时,ALY中的插座漏电开关跳闸,有时AL1中的总漏电开关也跳闸。
故障原因:经分析,施工安装时线路接线有误,不正确。将插座盒中的N线与PE线接错了。
解决方法:将插座盒中的N线与PE线对调。

第6种:施工安装时接线不正确,在AL1箱中N线与PE线用混了。如图4所示。
故障现象:插座回路或照明回路用电时,AL1中的总漏电开关都跳闸。
故障原因:经分析,施工安装时线路接线有误,不正确。将 AL1箱中N线与PE线用混了。
解决方法:在 AL1箱的总漏电开关负荷端,将N线与PE线对调。

以上内容和图文来源网络,由微信公众号:建筑水电知识平台(AZPT991) 整理,希望对大家有所帮助,让我们在电力施工和生活中避免一些不必要的问题出现,如果想继续学习更多水电知识和安装视频可关注我们!文中有什么不对的地方,欢迎朋友们评论下方留言,大家一起学习探讨共同进步。
猜你喜欢
天天都能接触到漏电断路器,关于断路器保护的知识你不一定全知道
插座左零右火?搞电工的你知道是为什么吗?